Смирительная рубашка и еще 6 странных изобретений для котов
Пока всякие там ученые решают проблемы с гравитационными волнами и прочими отвлеченными от реальности вещами, есть энтузиасты, занятые делом, полезным для всего человечества. Они изобретают приспособления для котов.

Защита от поедания птиц
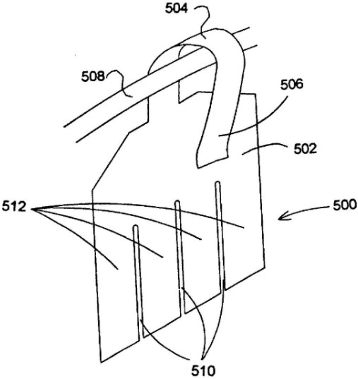
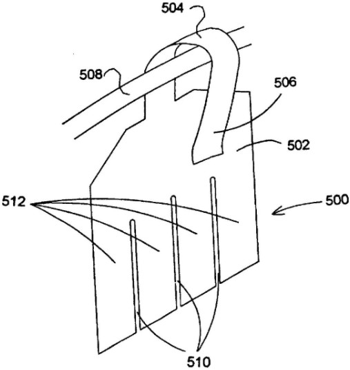
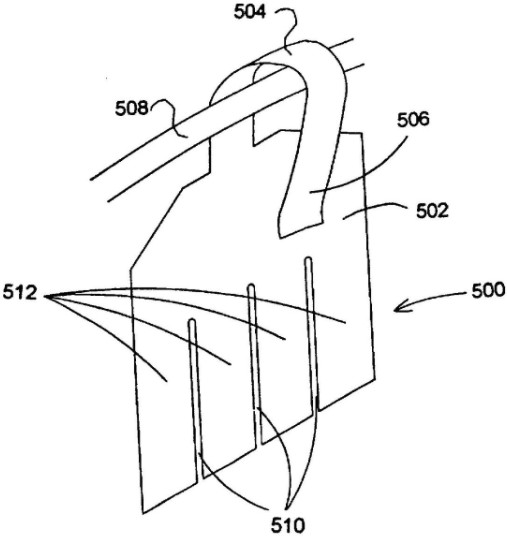
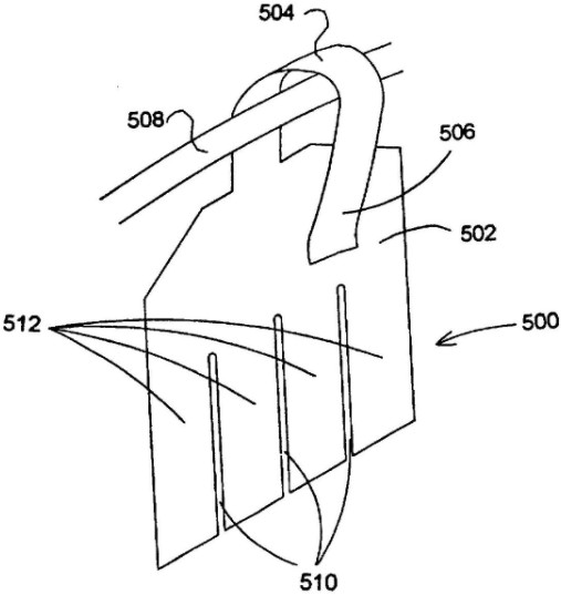
Множество патентов, связанных с кошками, направлены на предотвращение поедания ими птиц. По данным сайта Slate.com, коты ежегодно уничтожают 500 000 певчих птиц. Патент 5755186 представляет собой устройство, которое помешает вашему пушистому хладнокровному убийце лишать жизни беззащитных пташек.
Изобретение представляет собой кусок пластика, который прикрепляется к шее кота. Автор Сьюзан Д. Мандеволл пишет, что много раз испытала это изобретение на своей домашней кошке. И от лица нашей редакции выражаем искреннее сочувствие. Кошке, конечно, а не Сьюзан.
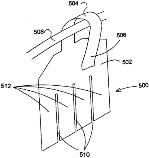
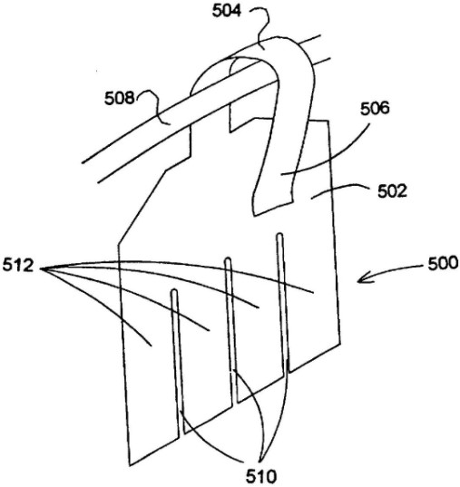
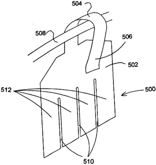
Ошейник, предупреждающий птицу о присутствии кошки
Еще один патент, лоббируемый, видимо, фракцией пернатых (от общественно-политического движения «Наш дом — скворечник»). Ошейник, снабженный небольшим передатчиком, транслирует громкий звук, который предупреждает птиц (или твои тапочки) о том, что где-то поблизости в засаде притаился кот.
