Мирный переворот
Самыми востребованными игрушками до сих пор являются прорывные новинки прошлого.

Никто не считал, сколько игрушек было придумано в мире даже за последние десять лет, не говоря уже о вчерашнем веке. Несомненно, что многие тысячи. Но лишь единицы смогли изменить глобальный рынок и создать вокруг себя культ и отдельную индустрию. Представляем пять таких революционных изобретений, до сих пор находящихся в топе.
1Lego
- Когда: 1949 год
- Что: самый универсальный конструктор
- €4,9 млрд составил оборот Lego Group в 2018 году
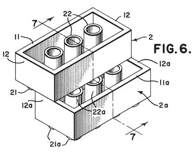
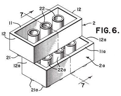
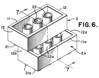
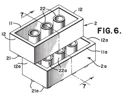
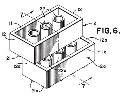
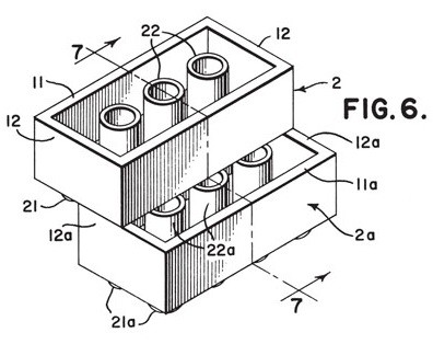
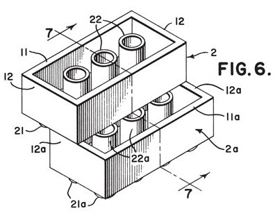
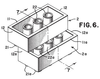
 Название Lego образовано от датских слов «leg godt» — «играть с увлечением». Датчанин Оле Кирк Кристиансен, создавший этот бренд, начинал с изготовления деревянных игрушек. Переворот случился, когда он взял на вооружение английский патент на кубики из пластика, которые можно сцеплять друг с другом. В 1946 году Кристиансен закупил оборудование для производства пластиковых игрушек и усовершенствовал иностранную конструкцию. В 1949 году компания Lego выпустила свои первые «кирпичики» в четырех цветах с 4 и 8 шипами. Революция заключалась в универсальном принципе взаимного сцепления: элементы Lego можно соединять как угодно и собирать из них что угодно: здания, транспортные средства, фигуры. С тех пор компания семьи Кристиансен продала столько «кирпичиков», что, если поделить их между всеми людьми мира, на каждого пришлось бы примерно 70 штук.
Название Lego образовано от датских слов «leg godt» — «играть с увлечением». Датчанин Оле Кирк Кристиансен, создавший этот бренд, начинал с изготовления деревянных игрушек. Переворот случился, когда он взял на вооружение английский патент на кубики из пластика, которые можно сцеплять друг с другом. В 1946 году Кристиансен закупил оборудование для производства пластиковых игрушек и усовершенствовал иностранную конструкцию. В 1949 году компания Lego выпустила свои первые «кирпичики» в четырех цветах с 4 и 8 шипами. Революция заключалась в универсальном принципе взаимного сцепления: элементы Lego можно соединять как угодно и собирать из них что угодно: здания, транспортные средства, фигуры. С тех пор компания семьи Кристиансен продала столько «кирпичиков», что, если поделить их между всеми людьми мира, на каждого пришлось бы примерно 70 штук.
«Это не просто конструктор, а целая игровая система, — комментирует Алиса Лобанова, учредитель TOY.RU. — Абсолютно безопасные и продуманные до мелочей конструкторы Lego остаются самым желанным подарком для детей. Недаром девизом компании стала фраза, сказанная ее основателем: «Только лучшее достаточно хорошо». Каждую секунду в мире продается семь конструкторов Lego, каждый год завод Lego в Биллунне производит 20 млрд «кирпичиков». В 2000 году Британская ассоциация продавцов игрушек назвала Lego «Игрушкой века». Подсчитано, что все дети мира, владеющие Lego, в сумме проводят в увлекательных занятиях с ним 5 млрд часов в год. По оценке Brand Finance, с 2015 года Lego неизменно возглавляет список самых мощных брендов игрушек в мире. Мощность выражается в том числе и в выручке — в 2018 году оборот Lego Group составил 36,4 млрд датских крон, или около €4,9 млрд.
2Barbie
- Когда: 1959 год
- Что: первая в мире кукла в виде взрослой девушки
- $1 млрд в год зарабатывает компания Mattel на бренде Barbie
 Барби придумала Рут Хэндлер, жена основателя компании Mattel. Ее не устраивало, что девочкам приходится играть с куклами-младенцами и примерять на себя роль только матери, в то время как мальчики могут разыгрывать сцены из жизни пожарных или астронавтов. Новинку представили на Нью-Йоркской ярмарке игрушек, где ее приняли прохладно — в топе были куклы в образе маленьких детей. Однако за первый же год Mattel продала 350 000 кукол. Потом у Барби — опять-таки впервые в истории игрушечного рынка — появились бойфренд, современный дом, машина, подруги, работа и множество
Барби придумала Рут Хэндлер, жена основателя компании Mattel. Ее не устраивало, что девочкам приходится играть с куклами-младенцами и примерять на себя роль только матери, в то время как мальчики могут разыгрывать сцены из жизни пожарных или астронавтов. Новинку представили на Нью-Йоркской ярмарке игрушек, где ее приняли прохладно — в топе были куклы в образе маленьких детей. Однако за первый же год Mattel продала 350 000 кукол. Потом у Барби — опять-таки впервые в истории игрушечного рынка — появились бойфренд, современный дом, машина, подруги, работа и множество
